DES对称加密算法
admin 2018-12-29 18:09:25 1344人已围观
DES(全称为Data Encryption Standard)对称加密算法是一种传统的对称加密算法,加密和解密者必须持有相同的密钥才能实现加密和解密。DES的原始思想可以参照二战德国的恩格玛机,其基本思想大致相同。传统的密码加密都是由古代的循环移位思想而来,恩格玛机在这个基础之上进行了扩散模糊。但是本质原理都是一样的。现代DES在二进制级别做着同样的事:替代模糊,增加分析的难度。
DES (Data Encryption Standard),是IBM在上个世纪70年代开发的单密钥对称加解密算法。该算法利用一个56+8奇偶校验位(第8, 16, 24, 32, 40, 48, 56, 64位)=64位的密钥对以64位为单位的块数据进行加解密。
DES算法的入口参数有三个:Key、Data、Mode。
其中Key为8个字节共64位,是DES算法的工作密钥;
Data也为8个字节64位,是要被加密或被解密的数据;
Mode为DES的工作方式,有两种:加密或解密。
DES算法是这样工作的:
如Mode为加密,则用Key 去把数据Data进行加密, 生成Data的密码形式(64位)作为DES的输出结果;
如Mode为解密,则用Key去把密码形式的数据Data解密,还原为Data的明码形式(64位)作为DES的输出结果。
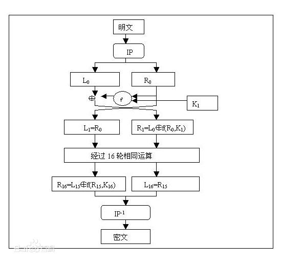
找到一张看不懂的图:

我还是比较喜欢直接上代码:
import java.security.Key;
import javax.crypto.Cipher;
import javax.crypto.KeyGenerator;
import javax.crypto.SecretKey;
import javax.crypto.SecretKeyFactory;
import javax.crypto.spec.DESKeySpec;
/**
* DES 加密解密<br/>
*
*/
public class DESCoder {
/**
* 密钥算法
*/
private static final String KEY_ALGORITHM = "DES";
private static final String DEFAULT_CIPHER_ALGORITHM = "DES/ECB/PKCS5Padding";
// private static final String DEFAULT_CIPHER_ALGORITHM = "DES/ECB/ISO10126Padding";
/**
* 初始化密钥
*
* @return byte[] 密钥
* @throws Exception
*/
public static byte[] initSecretKey() throws Exception{
//返回生成指定算法的秘密密钥的 KeyGenerator 对象
KeyGenerator kg = KeyGenerator.getInstance(KEY_ALGORITHM);
//初始化此密钥生成器,使其具有确定的密钥大小
kg.init(56);
//生成一个密钥
SecretKey secretKey = kg.generateKey();
return secretKey.getEncoded();
}
/**
* 转换密钥
*
* @param key 二进制密钥
* @return Key 密钥
* @throws Exception
*/
private static Key toKey(byte[] key) throws Exception{
//实例化DES密钥规则
DESKeySpec dks = new DESKeySpec(key);
//实例化密钥工厂
SecretKeyFactory skf = SecretKeyFactory.getInstance(KEY_ALGORITHM);
//生成密钥
SecretKey secretKey = skf.generateSecret(dks);
return secretKey;
}
/**
* 加密
*
* @param data 待加密数据
* @param key 密钥
* @return byte[] 加密数据
* @throws Exception
*/
public static byte[] encrypt(byte[] data,Key key) throws Exception{
return encrypt(data, key,DEFAULT_CIPHER_ALGORITHM);
}
/**
* 加密
*
* @param data 待加密数据
* @param key 二进制密钥
* @return byte[] 加密数据
* @throws Exception
*/
public static byte[] encrypt(byte[] data,byte[] key) throws Exception{
return encrypt(data, key,DEFAULT_CIPHER_ALGORITHM);
}
/**
* 加密
*
* @param data 待加密数据
* @param key 二进制密钥
* @param cipherAlgorithm 加密算法/工作模式/填充方式
* @return byte[] 加密数据
* @throws Exception
*/
public static byte[] encrypt(byte[] data,byte[] key,String cipherAlgorithm) throws Exception{
//还原密钥
Key k = toKey(key);
return encrypt(data, k, cipherAlgorithm);
}
/**
* 加密
*
* @param data 待加密数据
* @param key 密钥
* @param cipherAlgorithm 加密算法/工作模式/填充方式
* @return byte[] 加密数据
* @throws Exception
*/
public static byte[] encrypt(byte[] data,Key key,String cipherAlgorithm) throws Exception{
//实例化
Cipher cipher = Cipher.getInstance(cipherAlgorithm);
//使用密钥初始化,设置为加密模式
cipher.init(Cipher.ENCRYPT_MODE, key);
//执行操作
return cipher.doFinal(data);
}
/**
* 解密
*
* @param data 待解密数据
* @param key 二进制密钥
* @return byte[] 解密数据
* @throws Exception
*/
public static byte[] decrypt(byte[] data,byte[] key) throws Exception{
return decrypt(data, key,DEFAULT_CIPHER_ALGORITHM);
}
/**
* 解密
*
* @param data 待解密数据
* @param key 密钥
* @return byte[] 解密数据
* @throws Exception
*/
public static byte[] decrypt(byte[] data,Key key) throws Exception{
return decrypt(data, key,DEFAULT_CIPHER_ALGORITHM);
}
/**
* 解密
*
* @param data 待解密数据
* @param key 二进制密钥
* @param cipherAlgorithm 加密算法/工作模式/填充方式
* @return byte[] 解密数据
* @throws Exception
*/
public static byte[] decrypt(byte[] data,byte[] key,String cipherAlgorithm) throws Exception{
//还原密钥
Key k = toKey(key);
return decrypt(data, k, cipherAlgorithm);
}
/**
* 解密
*
* @param data 待解密数据
* @param key 密钥
* @param cipherAlgorithm 加密算法/工作模式/填充方式
* @return byte[] 解密数据
* @throws Exception
*/
public static byte[] decrypt(byte[] data,Key key,String cipherAlgorithm) throws Exception{
//实例化
Cipher cipher = Cipher.getInstance(cipherAlgorithm);
//使用密钥初始化,设置为解密模式
cipher.init(Cipher.DECRYPT_MODE, key);
//执行操作
return cipher.doFinal(data);
}
private static String showByteArray(byte[] data){
if(null == data){
return null;
}
StringBuilder sb = new StringBuilder("{");
for(byte b:data){
sb.append(b).append(",");
}
sb.deleteCharAt(sb.length()-1);
sb.append("}");
return sb.toString();
}
public static void main(String[] args) throws Exception {
byte[] key = initSecretKey();
// byte[] key = "12345678".getBytes();
System.out.println("key:"+ showByteArray(key));
Key k = toKey(key);
String data ="DES数据";
System.out.println("加密前数据: string:"+data);
System.out.println("加密前数据: byte[]:"+showByteArray(data.getBytes()));
System.out.println();
byte[] encryptData = encrypt(data.getBytes(), k);
System.out.println("加密后数据: byte[]:"+showByteArray(encryptData));
System.out.println("加密后数据: hexStr:"+Hex.encodeHexStr(encryptData));
System.out.println();
byte[] decryptData = decrypt(encryptData, k);
System.out.println("解密后数据: byte[]:"+showByteArray(decryptData));
System.out.println("解密后数据: string:"+new String(decryptData));
}
}
分享到:
编辑发布时间:2018-12-29 18:09:25

备付金存管银行是指可以为支付机构办理客户备付金的跨行收付业务,并负责对支付机构存放在所有备付金银行的客户备付金信息进行归集、核对与监督的备付金银行。(支付机构客
最近有一套生产系统的数据库CPU老是偏高,发现闲时也在40%-60%左右,感觉很不正常,决定优化一下,在这
首先需要知道什么叫一元购? 就是你支付一元后获得一个购物资格,有的叫抽